注意:访问本站需要Cookie和JavaScript支持!请设置您的浏览器! 打开购物车 查看留言付款方式联系我们
初中电子 单片机教材一 单片机教材二
搜索上次看见的商品或文章:
商品名、介绍 文章名、内容
首页 电子入门 学单片机 免费资源 下载中心 商品列表 象棋在线 在线绘图 加盟五一 加入收藏 设为首页
本站推荐:
几款无线话筒电路
文章长度[5484] 加入时间[2006/7/1] 更新时间[2026/2/7 17:11:20] 级别[3] [评论] [收藏]

  编者按:本文较详尽地介绍了颇有代表性的几款业余情况下容易制作成功的88~108MHz调频广播范围内的小功率发射电路,其中有简易的单管发射电路,也有采用集成电路的立体声发射电路。主要用于调频无线耳机、电话无线录音转发、遥控、无线报警、监听、数据传输及校园调频广播等。
  单声道调频发射电路

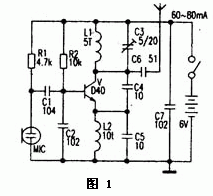
  图1是较为经典的1.5km单管调频发射机电路。电路中的关键元件是发射三极管,多采用D40,D5O,2N3866等。工作电流为60--80mA。但以上三极管难以购到,且价格较高,假货较多。笔者选用其他三极管实验,相对易购的三极管C2053和C1970是相当不错的,实际视距通信距离大于1.5km。笔者也曾将D40管换成普通三极管8050,工作电流有60--80mA,但发射距离达不到1.5km,若改换成9018等,工作电流更小,发射距离也更短, 电路中除了发射三极管以外;线圈L1和电容C3的参数选择较重要,若选择不当会不起振或工作频率超出88--108MHz范围。其中L1,L2可用0.31mm的漆包线在3.5mm左右的圆棒上单层平绕5匝及10匝,C3选用5-20pF的瓷介或涤纶可调电容。实际制作时,电容C5可省略,L2上也可换成10-100mH的普通电感线圈。若发射距离只要几十米,那么可将电池电压选择为1.5-3V,并将D40管换成廉价的9018等,耗电会更少,也可参考《电子报》2000年第8期第五版(简易远距离无线调频传声器)一文后稍作改动。图1介绍的单管发射机具有电路简单,输出功率大,制作容易的特点,但是不便接高频电缆将射频信号送至室外的发射天线,一般是将0.7--0.9m的拉杆天线直接连在C5上作发射的,由于多普勒效应,人在天线附近移动时,频漂现象很严重,使本来收音正常的接收机声音失真或无声。若将本发射机作无线话筒使用,手捏天线保灯卸嘌现鼐涂上攵恕?lt;BR>
  图2为2km调频发射机电路。本电路分为振荡、倍频、功率放大三级。电路中V1、C2--C6、R2、R3及L1组成电容三点式振荡器,其振荡频率主要由C3、C4和L1的参数决定,其振荡频率为44~54MHz,该信号从L1的中心抽头处输出,再经过C7耦合至V2放大,由C8和L2选出44~54MHz的二倍频信号,即88-108MHz,,此信号由C9耦合至V3进行功率放大,V3由3只3DGl2三极管并联组成,可扩大输出功率。该电路正常工作时,电流约80-100mA。组成V3的三只3DG12可加上适当的散热片,以防过热。制作时L1~L3用0.31mm漆包线在直径3.5mm圆棒上单层平绕。

  图3为一种实用的50m调频型无线耳机发射部分电路。该电路分为振荡和信号放大部分。L1、C2-C5、V1等组成与黑白电视机高频头本振电路类似的改进型电容三点式振荡器,频率稳定性好,长时间工作不跑频,实践证明,业余情况下,采用该改进型的电容三点式振荡器完全能胜任。笔者用电烙铁直接烙焊V1的集电极数秒钟后,在三极管的温度很高的情况下,用普通收音机接收仍很正常,无跑频现象。振荡器的频率主要由L1和C2决定,通过微调L1,可以覆盖88-108MHZ范围。音频信号经R6、C11耦台至V1的基极,V1的e、b极间电容随音频电压的变化而引起振荡频率的变化,实现频率调制。该电路中L,~L3用0.31mm漆包线在中3.5mm圆棒上单层平绕。诵过调整L1匝间间距微调振荡频率,再微调L2、L3的匝间间距以谐振子振荡频率,获得最大输出功率。

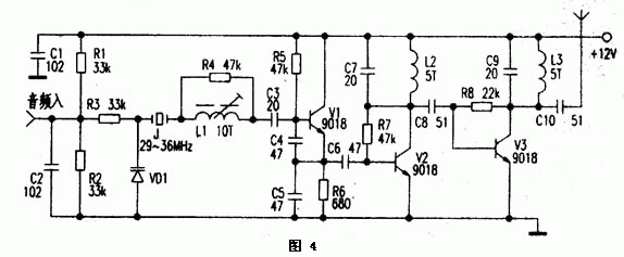
  图4为晶振式发射机电路。电路中J.、VD1、L1、C3~C5、V1组成晶体振荡电路。由于石英晶体J的频率稳定性好,受温度影响也较小,所以广泛用于无绳电话及AV调制器中。Vl是29~36MHz晶体振荡三极管,发射极输出含有丰富的谐波成分,经V2放大后,在集电极由C7、L2构成谐振于88-108MHz的网络选出3倍频信号(即87~108MHz的信号最强),再经V3放大;L3、C9选频后得到较理想的调频频段信号。频率调制的过程是这样的,音频电压的变化引起VD1极间电容的变化;由于VD1与晶体J串联,晶体的振藩频率也发生微小的变化,经三倍频后,频偏是29-36MHz晶体频偏的3倍。实际应用时,为获得合适的调制度,可选择调制频偏较大的石英晶体或陶瓷振子,也可以采用电路稍复杂的6-12倍频电路。若输入的音频信号较弱;可加上一级电压放大电路。

  由于1.5km调频发射机(见图1)采用电容三点式振荡器,天线参数稍微变动时,都将发生跑频现象,再则,由于是单管自激振荡发射,工作电流较大,当工作数秒钟至数分钟后,三极管的温度升高引起极间电容发生变化,也会带来振荡频率的改变(一般情况下是振荡频率降低),有时频漂竟达0.2--1MHz。用作调频广播或远距离遥控报警时工作可靠性较差,但元件少,成本低,调试容易,适合初级爱好者作发射实验。2km
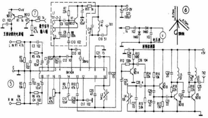
调频发射机(见上期附图2)采用振荡、倍频、功率放大三级电路,级间相对独立,频率的稳定度优于单管自激振荡发射的1.5km发射机,但开机数分钟后,仍有0.2-0.4MHz的频漂,这主要是由于V3的工作电流较大,温升高,引起极间电容发生变化,此变化通过C9引起C8与L2组成的谐振网络参数发生变化,加之V2温度升高后也引起C8与L2组成的谐振网络参数发生变化,此变化通过C7传递给C3、C4、L1、C5、C6、V1等组成的主振级,最终使振荡频率也发生变化(一般情况下也是振荡频率降低),实验时可加强三极管的散热,减小级间耦合,可将C9、C7的容量减小,同时选择受温度影响较小的晶体管、电阻、电容等,但频漂仍较严重。上期附图3所示的无线耳机发射器,由于采用了改进型电容三点式振荡器,较图1、图2所示的发射机的频率稳定,在电视无线耳机等保真度要求不是很高的场合很适宜。上期附图4所示的晶体振荡式发射机由于采用了晶体,所以频率稳定性很好,但应用于调频广播和无线耳机时,调制的频偏较LC振荡器小得多,在用收音机收听时,音量较小,声音不圆润,一般更适合频偏较小的无绳电话及对讲机等电路中。声表振子已广泛用于各种无线遥控及无线数据传输设备的发射机中,但频率在88~108MHz的声表振子难以购到,而各种性能优秀的频率合成的发射机制作比较麻烦,有兴趣者可参考(电子报)2000年第41期第五版(TGF-10型调频广播发射机数字频率合成器调制单元电路剖析)一文,该广播级发射机采用通用的摩托罗拉频率合成器专用芯片MCl45152P作为核心,通过外接拨码开关可获得84~108MHz的高稳定度频率。调频立体声发射机(电路见图5)本电路的核心器件为立体声专用芯片BAl404。很多调频立体声模块均将BAl404和外围元件封装在一个塑料或金属外壳内制成,只露出电源输入、音频输入、射频输出引线,只要了解BAl404以后,就知道调频立体声模块内部是怎么一回事了。来自音源的立体声音频信号经R1、R2、R5、C1、C3、C5(R4、R3、R6、C2、C4、C6)组成的网络耦合到BAl404。经IC内部左(右)声道放大,再进行平衡调制,调制后的复合信号从IC的第14脚输出,后与第13脚上的导频信号通过B9、C15,B10、C16、C17构成的网络进行混频,混频后的复合信号进入IC的12脚,对比的⑧、⑨、⑩脚,C20--C22及髓组成的电容三点式振荡器进行调频,IC的⑩脚上已调制的射频信号经内部放大后从第⑦脚输出,经C18、L2选频后送至天线TXl。要实现调频立体声,BAl404的⑤、⑥脚需外接38kHz晶体,但业余制作时的确很难购得38kHz的专用晶体,所以在无该晶体的情况下,可以参考虚线内的电路,用分立元件制作一个38kHz振荡器,该38kHz信号经过R8、C10送人IC第⑤脚。制作时,Ll可用收音机中频变压器ITF—2—1、TTF-2-2或TFF-2-9等,同时注意引脚的连接不要搞错,③脚接地,②脚接V1的发射极,①脚为反馈和输出脚。通过调整其磁芯可以获得频率较稳定、幅度足够高的38kHz信号。特别值得注意的是,C8宜选0.33uF的涤纶电容,不宜选择瓷片电容,因为瓷片电容的稳定性较差,容易出现振荡频率不稳,调频立体声工作不正常的现象。 由于BAl404的高频荡是电容三点式振荡器,所以频率的稳定性较差,于是本电路不用原来的高频振荡器,改用外接频率较稳的改进型电容三点式振荡器的方法,可满足业余调频广播和调频无线耳机的要求。如ZN-2001型调频立体声无线耳机的发射部分就采用了改进后的电容三点式振荡电路。立体声复合信号经V2电压放大后,通过C26、R14直接加在V3基极实现频率调制。其特点是根据用户需要,可以用螺丝刀在机壳外调整L4的电感量,使其能在88~108MHz范围内自由调节,避开当地调频广播电台的频率。该机另一特点是:电路板上巳留有1--5W功率扩展部分,如校园广播时就可将该部分的元件装上,调试后即可投入使用。但值得注意的是,若该无线耳机在增加功率后,仍然采用机上的鞭状天线发射;则强烈的射频信号将产生自身干扰;造成声者失真,有交流声或无声,所以一定要通过50欧专用的通信电缆将射频信号在室外发射。在装调功率扩展部分射,可以用如图5所示的射频检测器调整各级谐振状态。将射频检测器的输入端(1k电阻的一端)先接在前级放大三极管的集电极,调整集电极上的电感线圈,使射频检测器输出端的电压最高,然后按同样的方法逐级向后级调整,再检测天线端,最后统调各级电感线圈,使输出电压最高,即告完成。与红外无线耳机相比,调频立体声无线耳机的主机(发射机)与接收机之间可以隔着墙壁正常使用,而红外线耳机则不能。另外,普通红外线耳机无立体声功能,所以调频立体声无线耳机更适用,欣赏音乐时,更悦耳动听。若安装了室外天线,即使很微弱的射频信号也能传很远,所以制作一副良好的天线比单纯提高发射功率有效得多。制作一副水平极化、全向发射的天线比较麻烦,且一般的调频广播电台也采用水平极化方式,为了不产生干扰,所以笔者在此为读者介绍一种组装简易,效率较高的垂直极化天线。由于人在移动时用耳机线兼作收音机天线收音时,耳机线是垂直的;汽车收音机的天线也近似垂直,所以垂直极化更适合移动接收。该天线采用通信机专用的50欧伞状天线,如图6所示,天线座上有4根或7根振子,每根长约0.75m,垂直的一根为发射天线的主振子,斜着向下的3根或6根振子共同组成模拟地,它们之间的角度是均匀的,主振子与组成模拟地的各振子之间的角度也按要求固定了,整个天线的阻抗为50欧,10MHz带宽内增益约2dB,驻波小于1.2。许多场合传输的是数字信号,所以可以参考田7的电路,增设几个元件即可实现发射机的无线数字化传输。

1、 本站不保证以上观点正确,就算是本站原创作品,本站也不保证内容正确。
2、如果您拥有本文版权,并且不想在本站转载,请书面通知本站立即删除并且向您公开道歉! 以上可能是本站收集或者转载的文章,本站可能没有文章中的元件或产品,如果您需要类似的商品请 点这里查看商品列表!
本站协议 | 版权信息 |  关于我们 |  本站地图 |  营业执照 |  发票说明 |  付款方式 |  联系方式
深圳市宝安区西乡五壹电子商行——粤ICP备16073394号-1;地址:深圳西乡河西四坊183号;邮编:518102
E-mail:51dz$163.com($改为@);Tel:(0755)27947428
工作时间:9:30-12:00和13:30-17:30和18:30-20:30,无人接听时可以再打手机13537585389